集成灶電商市場亂象:被“綁架”的火星人
2020年10月19日,帥豐電器(605336)在上交所成功鳴鑼上市;同年12月3日,億田智能(300911)登陸深交所;不到一個月后,火星人(300894)緊隨而來。至此,算上早已上市的浙江美大(002677),A股集成灶概念上市公司形成四雄割據的局面,他們的品牌大名同時響徹整個集成灶行業。
然而,記者在調查中發現,有“李鬼”混雜電商平臺,妄圖從這些大品牌手中分一杯羹。一家注冊資本僅為100萬元的不知名小企業,竟打包注冊了“火星人先峰”“億田美味家”“帥豐好當家”“帥豐先峰”“慕思生活家”等多達20個商標。不難發現,這些商標與已經在市場上具有較高知名度的品牌“撞車”。
隨著記者繼續深入調查,幾個問題也相伴產生:集成灶行業是否存在準入門檻過低的現象?集成灶行業知名企業對品牌形象維護用心程度幾何?相關平臺方對“傍名牌”的監管是否形同虛設?
京東電商平臺:當“火星人”遇到“火星人先峰”
在某知名投訴平臺上,關于火星人集成灶的投訴中,有一條名為“在京東想購買火星人集成灶,結果購買成碰瓷產品火星人先峰集成灶,要求退款”的投訴頗為惹眼。
投訴內容顯示,該消費者原本是想購買火星人集成灶,可收到貨后發現竟是名為“火星人先峰”集成灶的商品。在意識到這是一個仿冒品牌后,消費者與商家溝通要求退貨,卻遭遇商家微信拉黑,遂投訴京東客服審核不當而引起消費者買到仿冒品牌,并申請京東客服介入,與商家溝通并進行退貨退款處理。
無獨有偶,同一平臺上,另一消費者也投訴,本想買火星人集成灶,收到貨發現是“火星人”的仿冒品牌“火星人先峰”,“京東在正品這塊翻車我是沒想到的,這種商品名字、LOGO都高度相似,刻意引導消費者上當的行為京東也不管嗎?”
記者隨后登陸京東電商平臺,并以關鍵詞“火星人先峰集成灶”進行搜索,搜索結果指向一家名為火星人先峰旗艦店的店鋪。在該店鋪相關商品詳情頁的右側,赫然顯示著藍底白字的LOGO“火星人先峰集成灶”,下面還寫著旗艦店保證,質保6年。(見圖一)乍一看,很容易令消費者聯想為這是一家火星人集成灶的授權店鋪,但實際情況并非如此。

圖一:“火星人先峰”店鋪LOGO神似“火星人”
江蘇圣典律師事務所合伙人方璇律師認為:“火星人”這一字號在廚電領域廣為公眾所知悉,有較高知名度和影響力,作為同業經營者,“火星人先峰”店鋪的宣傳與營銷手段,可能存在“傍名牌”、“搭便車”的主觀惡意。
經仔細比對,該店鋪LOGO與火星人集成灶京東自營旗艦店的白底藍字LOGO極為神似,特別是內嵌M字母的圓形圖標,僅在顏色和個別細節上稍有出入。普通消費者若不仔細辨認,確實很容易誤認為這就是一家專賣火星人集成灶的店鋪。
方璇律師還指出,若在商標使用過程中故意構成公眾混淆誤認,攀附他人企業名稱知名度的,仍可通過反不正當競爭法予以制止。
而更令人咋舌的是,在該店鋪熱銷的兩款標價分別為9399元、12999元的集成灶產品下方,分別有2000+、1000+的消費評論,評論中更是多次出現“火星人集成灶就是好”“火星人集成灶是很不錯的品牌”等字眼。(見圖二、三)這些帶有明顯誘導性的評論,不禁讓人生疑:這是真實消費后的由衷贊美,還是商家通過水軍給店鋪造勢?如果上述評論為消費者在購買產品之后的真實評論,這些消費者則屬于被“火星人先峰”店鋪的宣傳誤導了。

圖二:“火星人先鋒”店鋪內好評內容頻現“火星人集成灶”

圖三:“火星人先鋒”在售商品竟有上千條評論
集成灶行業為何成“傍名牌”重災區?
在調查過程中,記者發現的另一現象似乎更加值得關注。
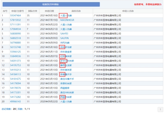
根據火星人先峰旗艦店所售集成灶包裝上的企業名稱“深圳火星人廚房電器有限公司”這一信息,記者從企查查獲悉,這是一家注冊資本僅100萬元、成立剛滿半年的小微企業,法人為周新強。不過,該公司名下并無任何與集成灶相關的注冊商標。然而,周新強還有另一關聯企業,即廣州帥豐廚房電器有限公司。查看其名下企業信息則有新的發現:該公司曾于2020年9月至2021年9月期間,密集申請20件商標,名稱涉及“火星人”“西屋”“帥豐”“億田”等多家知名廚電企業,甚至包括“榮泰”“慕思”“芝華士”等家居品牌。(見圖四、圖五)

圖四:周新強關聯企業情況

圖五:廣州帥豐廚房電器有限公司申請的商標中出現多家知名品牌身影
值得注意的是,廣州帥豐廚房電器有限公司與上述企業均無任何關聯,這是否意味著周新強名下的這兩家企業其實是專業傍各大品牌并進行“擦邊產品”銷售的公司?
帶著疑問,記者以咨詢購買集成灶為由,撥通了深圳火星人廚房電器有限公司的400客服電話,并獲得了如下信息:火星人先峰旗艦店營業執照信息指向的北京思源博奧科技發展有限公司確屬火星人先峰的“官方”旗艦店;在記者一再詢問店鋪所售火星人集成灶在線下是否有售的情況下,對方終于不再以“火星人”自居,而是回復稱“我們不是火星人集成灶,我們叫火星人先峰?!?/p>
這一現象背后又引申出另一層思考:被模仿,究竟是針對“火星人”品牌的個例,還是在集成灶行業普遍存在的亂象?
記者在多家電商平臺上分別以“美大”“火星人”“億田”為關鍵詞進行搜索,發現了不少類似火星人先峰的情形。在電商平臺上,名為廣州億田直銷店和億田智能科技工廠的兩家店鋪售賣的集成灶為“巨億田”牌,而此前多年保持集成灶行業第一的美大則成了該現象的重災區,“鑫美大”、“申美大”、“美大颶風”、“美大云魔方”、“美大鋒尚”等大量借“美大”之名的產品充斥網絡平臺。如此多的模仿者也傳遞出另一種信號:集成灶行業的準入門檻似乎沒有那么高。
“傍名牌”誤導消費者,京東曾被認定共同侵權
方璇律師認為:“火星人”這一字號,自公司成立起持續使用至今,在廚電領域廣為公眾所知悉,已具有較高知名度和影響力,能夠起到區分市場主體和識別商品來源的作用,應屬于《反不正當競爭法》第六條第二項所要保護的“有一定影響”的企業名稱。作為同業經營者,“火星人先峰”店鋪的宣傳與營銷手段,可能存在“傍名牌”、“搭便車”的主觀惡意,容易誤導消費者,使消費者產生混淆,其行為涉嫌構成不正當競爭和商標侵權。
其次,相關注冊商標的申請及使用應遵循誠實信用原則并受到一定限制,以避免引發惡意搶注等行為。商標得以注冊的合法形式不能掩蓋行為的侵權實質,更不能成為不正當競爭行為賴以產生甚至持續的合法依據。若在商標使用過程中故意構成公眾混淆誤認,攀附他人企業名稱知名度的,仍可通過反不正當競爭法予以制止。
另外,關于平臺服務商的歸責問題,《民法典》第1195條和1196條中已均做出具體規定。實際上,早在(2017)京民終737號侵害商標權糾紛一案中,京東就曾因沒有盡到更為審慎的審查注意義務而被認定為共同侵權,承擔連帶賠償責任。所以,平臺服務商在提供網絡服務時,應當根據其所屬行業提供服務的性質、方式、內容以及通常應具備的信息管理能力和經營能力等,采取必要的、合理的、適當的措施防止侵害商標權行為的發生。而幫助網絡賣家實施侵害商標權行為的,應當與網絡賣家承擔連帶責任。
最后,方璇律師提醒:“消費者在挑選產品的時候應仔細檢查包裝標識,對于價格相差較大的低價‘名牌’商品切勿輕易購買。”
浙江美大“踢皮球”:這些品牌被蹭竟不上心
就觀察到的集成灶產品在多個電商平臺遭遇“超級模仿秀”這一現象,記者撥通了浙江美大證券部的電話,向其反映相關情況,并詢問公司是否有相關部門處理類似情況。工作人員表示并不清楚究竟是哪個部門負責,同時給出主要負責品牌維護的公司市場部的電話。
記者隨后撥通了浙江美大市場部的電話,詢問公司是否針對品牌被蹭情況展開過積極舉措。該部門工作人員答復類似情況并不由他們負責,并表示可能是由電商部負責,但其稱自己手頭并沒有電商部的電話。
記者再次致電浙江美大證券部,索要電商部的電話,但工作人員一番查找后表示,并沒有電商部的電話,并稱:“品牌維護應該是由市場部負責?!钡珜τ谑袌霾糠矫娼o出的否定答復,其也未置可否。記者再次追問能否待弄清楚是何部門處理類似情況后給予回復,對方竟表示:“這怎么說啊。”
一番“踢皮球”后,記者能夠清晰地感受到浙江美大對品牌被蹭一事似乎并不上心。那么,火星人方面又會作何回復呢?帶著疑問,記者多次致電火星人證券部,但電話另一端傳出的始終是“1106,電話無法接通,請在‘嘀’的一聲后留言。”截至發稿,火星人方面依然無法取得聯系。
品牌方對被“傍”一事視若無睹,電商平臺方對此又是怎樣的態度呢?
回到開篇提到的那起關于火星人先峰集成灶的投訴。根據頁面最新進展顯示,該消費者補充投訴:京東客服以“火星人先峰”是注冊商標為由,表示不支持退貨。如此看來,京東方面并不認為火星人先峰旗艦店在這件事情上是過錯方。對于商家如此明目張膽地蹭知名品牌熱度,卻可以不承擔任何責任,平臺方不僅對該現象不做監管,甚至不予處理的做法,該消費者表達了強烈的不滿。(見圖六)

圖六:消費者投訴京東平臺不作為
上市公司應把品牌美譽度視為生命
奧維云網數據顯示,2015至2021年,油煙機銷量由2671萬臺降至2150萬臺,銷售額由341億元降至333億元;同期,集成灶銷量由57萬臺升至304萬臺,銷售額由36億元升至256億元。其預計,到2023年,集成灶銷量將達到411萬臺,占到油煙機銷量的76.8%。
正處于良好發展態勢中的集成灶行業,眼下更需要該行業的所有參與者共同努力。然而,在遭遇仿冒品牌這件事上,幾家集成灶領頭羊為何選擇視而不見?
有行業觀察人士分析認為,集成灶準入門檻并不高,大量同質化產品充斥市場:“很多小品牌從外觀上看同大品牌幾乎沒有差別,但內部結構和走線混亂,這既不利于使用安全,后期養護也比較麻煩?!庇浾卟煌耆y計發現,與集成灶相關的標準,主要發布并實施于2010年前后,這也間接導致了準入門檻較低的現狀。
此外,更看重營銷而非研發也是集成灶行業的普遍現象。以2020年為例,浙江美大和火星人的研發費用分別為5428萬元、5775萬元,占營收比重分別為3.08%、3.58%。但同期,其銷售費用分別高達1.9億元、4.03億元,數額和占營收比重均大幅超過研發費用。而作為兩家龍頭企業,浙江美大和火星人的研發投入已經屬于行業較高水平。
與此同時,“方太”“老板”等傳統油煙機品牌正摩拳擦掌進入集成灶領域。面對來勢洶洶的“新兵”,浙江美大、火星人等集成灶“老將”們或許更要在品牌美譽度上多花些心思。
記者 李秋捷 實習記者 陳陟
- 免責聲明:本文內容與數據僅供參考,不構成投資建議。據此操作,風險自擔。
- 版權聲明:凡文章來源為“大眾證券報”的稿件,均為大眾證券報獨家版權所有,未經許可不得轉載或鏡像;授權轉載必須注明來源為“大眾證券報”。
- 廣告/合作熱線:025-86256149
- 舉報/服務熱線:025-86256144

