連續三年評價結果為C 湯姆貓的信披質量為何難上臺階?
近日,深交所發布了上市公司2023—2024年度信息披露工作評價結果(以下簡稱“信披評價”),來自創業板的游戲上市公司湯姆貓(300459)再度被評為C(合格)——這已是公司連續第三年被評為C。若再看以往年度,2019年、2020年其信披工作連續兩年被評為D(不合格)。多年定格在C、D,而無緣A(優秀)、B(良好),湯姆貓的信披質量為何難以再上臺階?
控股股東高比例股權質押
信披工作再次被評為C,或許與湯姆貓的控股股東高比例股權質押有關。
Wind數據顯示,湯姆貓的控股股東、實際控制人、董事長朱志剛已將其所持公司股份的98.43%予以質押,占公司總股本的比例約為8.77%,而作為朱志剛的一致行動人,金科控股集團有限公司(以下簡稱“金科控股”)質押比例也已高達99.79%,占公司總股本的比例約為6.28%。
不僅如此,金科控股的持股已悉數被輪候凍結。9月23日,湯姆貓對外披露,金科控股所持有的2.21億股公司股份已經全部被輪候凍結,凍結申請人為杭州市拱墅區人民法院,起始日為2024年9月19日,輪候期限為36個月。截至該公告披露日,金科控股累計被凍結股份數量已高達1.40億股,累計被標記股份數量約為8111萬股。
按照深圳證券交易所上市公司自律監管指引第11號——信息披露工作評價(2023年修訂)(以下簡稱“自律監管指引”)中的規定,評價期末公司控股股東及其一致行動人持有的公司股份超過80%被質押或凍結的,其評價結果不得高于C。
原董事長即將被動減持
不僅是控股股東,湯姆貓的第二大股東、公司原董事長王健也存在高比例股權質押的情況。據Wind數據統計,王健已將所持公司股份的98.33%進行了質押,占公司總股本比例的8.12%。
王健的高比例股權質押已經產生了連鎖反應。
就在國慶假期前最后一個交易日,湯姆貓發布了一份關于股東被動減持股份的預披露公告,其中提到王健收到了股票質權人的通知,因股票質押違約,質權人擬通過二級市場減持方式處置其持有的部分公司股份,相關操作將構成王健被動減持公司股份情形。這部分被動減持的股份預計不超過2800萬股,減持期為2024年10月29日至2025年1月26日。
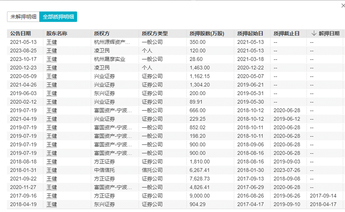
《大眾證券報》記者據Wind數據梳理王健的質押明細發現,其有18筆股權質押尚未解押,其中有10筆股權質押已過質押截止日,而絕大多數的質押日參考股價均低于湯姆貓最新收盤價,僅有3筆股權質押(均已過質押截止日)的質押日參考股價高于公司最新收盤價。對于王健的股票質押違約的原因,記者采訪湯姆貓,公司工作人員表示“參考公司披露的公告”。

(王健的股權質押明細 數據來源:Wind)
“這屬于場內質押操作。”江蘇聯盛(無錫)律師事務所林相律師對記者表示,出現上述被動減持情況,“一般是因為標的股票收盤價低于設定的預警股價且未按要求履行補倉義務,或者標的股票收盤價低于設定的平倉股價。”其同時強調,通常情況下,被動減持的公告發布時的股票收盤價是要低于股權質押雙方約定的平倉股價的,但也有另一種情況,“股價曾經低于約定的平倉價,但質權方為保證利益最大化,經協商后決定在股價表現較好時進行減持操作。”
記者另外發現,王健還曾因2019年11月至2020年3月期間減持公司股票,涉嫌內幕交易被中國證監會立案調查,并于2023年2月被浙江證監局行政處罰。
相關公告顯示,王健利用內幕信息使用賬戶組賣出金科文化(湯姆貓原證券簡稱)股票1679萬股,成交金額共計5285萬元,而他此次內幕交易共虧損230萬元,浙江證監局將之定性為“避損失敗”。
值得一提的是,在2020年年底被中國證監會立案調查之時,王健仍是湯姆貓的董事長,屬于董監高的范疇,而自律監管指引中提到,公司董事、監事、高級管理人員、控股股東、實際控制人因涉嫌違反相關證券法律法規,被有權機關立案調查,其信息披露工作評價結果不得評為A。
曾多次收到監管“罰單”
湯姆貓信披工作質量始終無法越過C類門檻,或許不僅因為控股股東高比例股權質押、董監高被監管層立案調查。《大眾證券報》記者翻閱公司公告發現,自2020年以來,湯姆貓已多次被浙江證監局采取行政監管措施。
今年5月初,湯姆貓又收到了浙江證監局的一紙《行政監管措施決定書》。相關公告顯示,公司在有關廣東湯姆貓產業發展有限公司(以下簡稱“廣東湯姆貓”)的股權轉讓事項上信息披露不準確、不完整,且在2020年至2022年期間對參股子公司廣東湯姆貓、浙江祥新文旅產業集團有限公司未能實施有效管控、后續管理不規范,公司《內部控制自我評價報告》披露不準確。
湯姆貓還曾因蹭熱點,被浙江證監局出具過警示函。事件起因是2021年9月,公司在深交所投資者關系互動平臺回復投資者關于公司在元宇宙、VR等領域業務布局情況提問時,未能客觀、完整地介紹和反映公司相關業務對公司業績的影響等實際情況。
按照自律監管指引中的規定,公司因違規行為被中國證監會及其派出機構采取行政監管措施的,其信息披露工作評價結果不得評為A。
記者 陳陟
- 免責聲明:本文內容與數據僅供參考,不構成投資建議。據此操作,風險自擔。
- 版權聲明:凡文章來源為“大眾證券報”的稿件,均為大眾證券報獨家版權所有,未經許可不得轉載或鏡像;授權轉載必須注明來源為“大眾證券報”。
- 廣告/合作熱線:025-86256149
- 舉報/服務熱線:025-86256144

