招股書公轉書“打架” 與工商信息不一致 山源科技高管履歷信披存疑
除了核心技術人員疑似“0元”入股公司,股權代持頻現,上海山源電子科技股份有限公司(下稱“山源科技”)信披還出現了與公開信息不一致的情形。
《大眾證券報》記者注意到,在董秘履歷的信披方面,山源科技招股書不僅與工商信息不一致,還出現了與公開轉讓說明書“打架”的情形。對于現任董秘加入山源科技的具體時間,入職前部分時間段具體在何處任職,公開轉讓說明書是否信披出錯等問題,也值得關注。
董秘履歷與工商信息不一致
信息披露是投資者投資決策的重要依據,然而,山源科技董事會秘書的履歷信披,卻與工商信息不一致。
招股書披露周云鵬的簡歷為:“2000年9月至2002年8月,先后任職于北京展鵬電子技術有限公司、維訊新科信息技術(北京)有限公司和交大銘泰(北京)信息技術有限公司,從事軟件工程師工作;2002年9月至2004年12月,擔任北京正有網絡通信技術股份有限公司軟件項目經理;2005年1月至2006年10月,擔任北京聯亞天星網絡信息技術有限公司副總經理;2006年11月至2008年5月,擔任金飛馬國際集團有限公司董事長助理、投資副總裁;2008年8月至2012年12月,擔任北京山源廣通科技有限公司副總經理;2012年12月至今,擔任發行人全資子公司北京迪為副總經理;2014年8月至今,擔任山源科技董事會秘書。”
通過企查查查詢到的工商登記信息顯示,周云鵬長期擔任北京聯亞天星網絡信息技術有限公司執行董事并持股,直到2015年1月才退出,而在卸任前,其還長期為該企業法定代表人,并在2010年、2012年增加持股(圖一、二)。
查詢到的工商登記信息還顯示,北京山源廣通科技有限公司歷史主要人員中,周云鵬2014年8月29日才卸任董事職務(圖三),遲于招股書披露的2012年12月。
與公開轉讓說明書信披“打架”
不止于此,對于周云鵬的履歷,山源科技招股書與此前公開轉讓說明書中的信披也不一致。
公開轉讓說明書顯示:“2000年7月至2001年12月擔任北京展鵬電子科技有限公司軟件工程師;2002年2月至2004年5月擔任北京正有網絡通訊技術股份有限公司軟件項目經理;2004年7月至2007年10月擔任沈陽金飛馬制漆有限公司投資副總裁;2007年10月至2012年8月擔任金飛馬集團北京辦事處主任;2012年11月加入公司,現任子公司北京迪為副總經理;2014年8月6日被選舉為公司董事會秘書,任期三年。”
可以看出,周云鵬2007年10月至2012年8月擔任金飛馬集團北京辦事處主任,與招股書披露的“2008年8月至2012年12月,擔任北京山源廣通科技有限公司副總經理”存在矛盾之處;其“2004年7月至2007年10月擔任沈陽金飛馬制漆有限公司投資副總裁”的經歷與招股書信披存在沖突,招股書披露的是“2005年1月至2006年10月,擔任北京聯亞天星網絡信息技術有限公司副總經理;2006年11月至2008年5月,擔任金飛馬國際集團有限公司董事長助理、投資副總裁”。
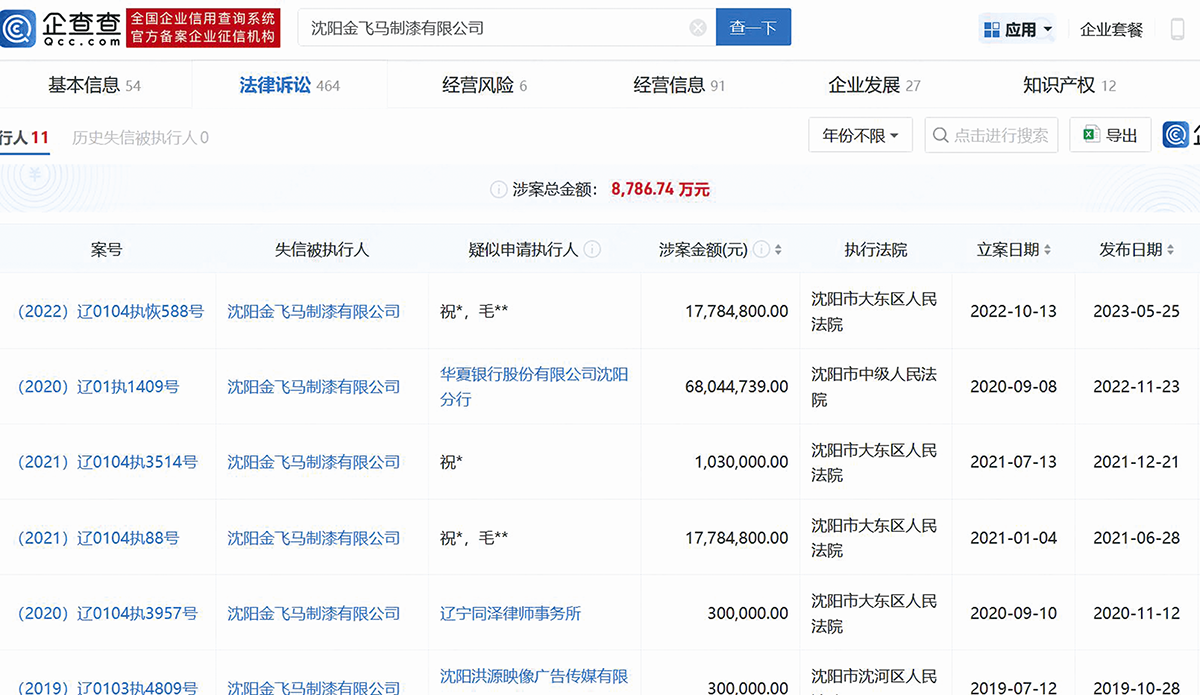
還值得一提的是,沈陽金飛馬制漆有限公司已被列為失信被執行人,涉案總金額達8786.74萬元(圖四)。該企業實際控制人李奎福因合同詐騙、行賄被追究刑事責任。據2020年《遼寧省高級人民法院駁回申訴通知書》,“李奎福作為沈陽化工油漆廠、沈陽金飛馬制漆有限公司的實際經營者,以非法占有為目的,在與沈陽市汽車城開發建設指揮部征收拆遷辦公室簽訂拆遷安置補償協議過程中,以偽造、變造票據、虛構房屋面積等方法,騙取拆遷補償款,數額特別巨大,原判以合同詐騙罪追究被告人李奎福的刑事責任并無不當。”
控股股東履歷未披露擔任董事長企業
2014年,與周云鵬一同退出北京山源廣通科技有限公司的還有景杰,其退出前擔任該企業董事長、法人代表。
公開轉讓說明書披露的景杰簡歷中,未提及其在北京山源廣通科技有限公司擔任董事長的經歷:“1990年9月至2000年12月先后擔任晉城藍焰煤業股份有限公司成莊礦機電主任工程師、電廠廠長;2001年1月創立公司,歷任公司執行董事、總經理、財務負責人;2014年8月6日被選舉為公司董事長、總經理、財務負責人,任期三年。”
招股書披露的控股股東景杰履歷仍很簡單,依然未提及在北京山源廣通科技有限公司擔任董事長的經歷:“1990年9月至2000年12月,先后擔任晉城藍焰煤業股份有限公司成莊礦機電主任工程師、電廠廠長;2001年1月,創立山源有限,現任山源科技董事長、總經理。”
事實上,北京山源廣通科技有限公司向當地市監機構提交的2014年企業年報顯示,企業聯系電郵為zhouyunpeng@shsany.com。該郵箱的“zhouyunpeng”與周云鵬漢語拼音相同,郵箱后綴則與招股書披露的山源科技電郵stock@shsany.com也相同,結合公司網址為www.shsany.com,@shsany.com應是山源科技企業郵箱。
通過企查查查詢到的工商信息顯示,北京山源廣通科技有限公司成立于2008年5月14日,已于2021年12月注銷。企查查顯示的該企業簡介為:“山源集團總部設在上海,成立于2000年,是一家集科研、生產、銷售于一體的民營高科技企業,北京山源廣通科技有限公司是其在北京設立的合資公司,前身為山源集團北京研發中心。”
四問山源科技
對于山源科技董秘、控股股東履歷信披的疑問,《大眾證券報》記者此前致函山源科技,公司董秘辦公室通過電郵進行了回復。
為何招股書披露周云鵬“2005年1月至2006年10月,擔任北京聯亞天星網絡信息技術有限公司副總經理”,而企查查顯示周云鵬2015年才退出該企業?為何招股書與公開信息不一致?招股書信披真實性、完整性如何?
山源科技回復稱:“相關公司就其董監高變動情況辦理備案可能存在滯后。公司的信息披露準確、真實、完整,符合相應的要求與準則。”
關于周云鵬履歷,山源科技公開轉讓說明書與招股書披露的也不一致,2004年至2006年,周云鵬是在沈陽金飛馬制漆有限公司擔任投資副總裁還是在北京聯亞天星網絡信息技術有限公司擔任副總經理?2008年至2012年,周云鵬究竟在金飛馬國際集團有限公司任職還是在北京山源廣通科技有限公司擔任副總經理?公開轉讓說明書與招股書哪個信披出錯?周云鵬究竟何時加入山源科技?
山源科技回復稱:“招股書更審慎地結合了相關公司工商登記備案信息和高管實際履職情況進行披露。公司的信息披露準確、真實、完整,符合相應的要求與準則。”但對于周云鵬具體何時加入山源科技,公開轉讓說明書是否信披出錯,公司董秘辦公室并未正面回復。
根據公開轉讓說明書,周云鵬“2004年7月至2007年10月擔任沈陽金飛馬制漆有限公司投資副總裁,2007年10月至2012年8月擔任金飛馬集團北京辦事處主任,2012年11月加入公司”,招股書未完全披露上述任職信息,而更改為“2005年1月至2006年10月,擔任北京聯亞天星網絡信息技術有限公司副總經理;2006年11月至2008年5月,擔任金飛馬國際集團有限公司董事長助理、投資副總裁;2008年8月至2012年12月,擔任北京山源廣通科技有限公司副總經理”,2004年至2012年履歷出現重大更改,是否與李奎福合同詐騙、行賄案有關?是否存在刻意隱瞞?
山源科技回復稱:“招股書更審慎的結合了相關公司工商登記備案信息和高管實際履職情況進行披露。周云鵬與任何合同詐騙、行賄案無關,不存在刻意隱瞞。公司的信息披露準確、真實、完整,符合相應的要求與準則。”
為何公開轉讓說明書中均未提及周云鵬、景杰在北京山源廣通科技有限公司擔任重要職務的經歷?對于控股股東基本情況的披露,為何從公開轉讓說明書到招股書只字不提在北京山源廣通科技有限公司擔任董事長的經歷?
山源科技回復稱:“景杰在北京山源廣通科技有限公司的職務為其兼任職務,不屬于主要履歷。公司的信息披露準確、真實、完整,符合相應的要求與準則。”
記者 何玉曉
圖一:北京聯亞天星網絡信息技術有限公司變更信息

圖二:北京聯亞天星網絡信息技術有限公司歷史人員

圖三:北京山源廣通科技有限公司歷史主要人員

圖四:沈陽金飛馬制漆有限公司被列為失信被執行人

- 免責聲明:本文內容與數據僅供參考,不構成投資建議。據此操作,風險自擔。
- 版權聲明:凡文章來源為“大眾證券報”的稿件,均為大眾證券報獨家版權所有,未經許可不得轉載或鏡像;授權轉載必須注明來源為“大眾證券報”。
- 廣告/合作熱線:025-86256149
- 舉報/服務熱線:025-86256144

