投資總監轉行董秘背后 思銳光學董秘入職前兄長與大股東已合作
除了新增大供應商控股股東系子公司原股東配偶,欲北交所上市的廣東思銳光學股份有限公司(以下簡稱“思銳光學”)對高管簡歷等信披的真實性、完整性也引人關注。
《大眾證券報》記者發現,來自廣州的思銳光學,公司董秘林炳坤還曾在其他兩家廣州企業登記為執行董事兼總經理或董事,但招股書在其簡歷中均未披露上述任職情況,關聯方信披中也未提及。此外,通過企查查查詢到的信息發現,林炳坤在擔任思銳光學董秘之前,其兄林炳城與思銳光學包括控股股東在內的大股東已有合作。
董秘兩企業任職經歷未提及
林炳坤擔任思銳光學董秘一職,2023年以34.84萬元的年薪超過董事長。入職前,其曾在廣東中科科創創業投資管理有限責任公司擔任投資管理總監一職。
據招股書披露的簡歷顯示:“林炳坤先生,董事會秘書,1978年5月出生,中國國籍,無境外永久居留權,畢業于中國人民大學會計專業,本科學歷。2001年9月至2006年6月,任廣捷金融信息技術服務有限公司會計;2006年7月至2008年2月,任陽光財產股份有限公司廣東省分公司會計;2008年2月至2013年10月,在中和正信會計師事務所擔任項目經理;2013年11月至2021年10月,任廣東中科科創創業投資管理有限責任公司投資管理總監;2021年11月至今,任思銳光學董事會秘書?!?/p>
但據企查查查詢到的工商信息顯示,林炳坤任職經歷不止招股書簡歷披露的上述企業。
查詢發現,2019年1月至2021年3月,林炳坤登記為廣州番禺永豐農業發展有限公司的執行董事兼總經理。
廣州番禺永豐農業發展有限公司歷史人員截圖
廣州番禺永豐農業發展有限公司成立于1995年10月,法定代表人為孟慶華,注冊資本為800萬元,企業注冊地址位于廣州市番禺區南村鎮市頭村,所屬行業為漁業,經營范圍包含:內陸養殖;玉米種植;林木育苗;體育組織。
值得一提的是,該企業2019年年報披露的電子郵箱為“soulmatelin@gdcsm.com”,2020年年報披露的從業人數僅為1人。

廣州番禺永豐農業發展有限公司2019年年報截圖

廣州番禺永豐農業發展有限公司2020年年報截圖
此外,林炳坤目前還在廣州市番禺區的另一家企業任職。廣州飛奔科技有限公司主要人員中,林炳坤登記為董事。變更記錄顯示,林炳坤于2018年新進為董事。

廣州飛奔科技有限公司主要人員截圖
廣州飛奔科技有限公司成立于2015年1月,法定代表人為高寶,注冊資本為350萬元,企業注冊地址位于廣州市番禺區沙灣鎮沙坑村第二工業區內,所屬行業為研究和試驗發展,經營范圍包含:電子、通信與自動控制技術研究、開發;網絡技術的研究、開發;計算機技術開發、技術服務;信息技術咨詢服務;信息電子技術服務;電子元器件批發;電子產品批發;商品批發貿易(許可審批類商品除外);商品零售貿易(許可審批類商品除外);貨物進出口(專營??厣唐烦?。該企業多次被廣州市番禺區市場監督管理局列入經營異常名錄,目前大股東被列為失信執行人并被限制高消費。

廣州飛奔科技有限公司經營異常
從林炳坤在公司招股書報告期內登記為廣州番禺永豐農業發展有限公司的執行董事兼總經理來看,該企業屬于公司報告期內曾經存在的關聯方。從林炳坤目前仍登記為廣州飛奔科技有限公司的董事來看,該企業屬于公司目前的關聯方。
思銳光學招股書在對關聯方的信披中,未提及上述兩家企業。
入職前兄長已與重要股東合作
除了兩家企業任職經歷未披露外,思銳光學董秘入職前不久,其兄長與思銳光學股東已有合作,并在其入職次月參與公司定增。
據招股書,思銳光學曾實施過一次定增,為關聯方投資入股。
2021年12月,林炳坤之兄實際控制的珠海橫琴加成創業投資合伙企業(有限合伙)(以下簡稱“加成創投”)以現金3200萬元出資認購思銳光學355.56萬元的新增股本,價格為8.9999元/股。
招股書披露:“加成創投的實際控制人林炳城為公司董事會秘書林炳坤之兄,構成關聯交易,交易價格系交易雙方協商確定,定價公允。該項交易已經公司第二屆董事會第二次會議、2021年第三次臨時股東大會審議通過,并于2022年10月24日在全國股轉系統指定信息披露平臺披露的《公開轉讓說明書》中予以披露。”
思銳光學在公轉書中表示:“加成創投為2021年11月于珠海市橫琴新區成立的有限合伙企業,經營范圍包括以私募基金從事股權投資、投資管理、資產管理等活動,其實際控制人林炳城為本公司董事會秘書林炳坤之兄,該次增資系關聯交易?!?/p>
事實上,林炳城與思銳光學另一名曾經的重要股東黃銳波,在林炳坤當公司董秘之前已有合作。
加成創投的執行事務合伙人深圳加值資本創業投資基金管理有限公司(以下簡稱“深圳加值”)目前由林炳城控制。
通過企查查查詢到的信息顯示,加成創投的成立時間為2021年11月17日,作為執行事務合伙人的深圳加值成立于2015年5月27日,變更記錄進一步顯示,2021年2月24日,持股100%的黃銳波退出深圳加值,林炳城受讓其全部持股。

深圳加值資本創業投資基金管理有限公司變更記錄
據公司掛牌新三板公轉書,黃銳波在2014年12月增資入股思銳光學,增資后持股10.45%,截至此次IPO招股書披露日,其持股4.35%。
林炳坤擔任思銳光學董秘的時間為2021年11月5日。這意味著,林炳坤入職前,其兄長就通過與思銳光學原重要股東的交易,控制深圳加值,后在林炳坤入職當月成立私募基金加成創投,并于次月參與思銳光學的定增。
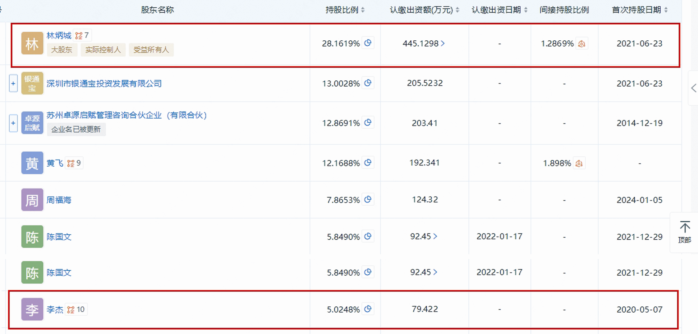
企查查查詢到的相關信息進一步顯示,林炳城與思銳光學的交集還不止于此,其還與思銳光學控股股東李杰共同投資廣東卓原新材料科技有限公司,林炳城為大股東。
通過企查查查詢到的信息顯示,廣東卓原新材料科技有限公司成立于2010年12月,法定代表人為林炳城,注冊資本為1580.61萬元,注冊地址位于中山市五桂山鎮桂南工業園17號,所屬行業為科技推廣和應用服務業,經營范圍包含:研發、制造、銷售:生物質材料、絕緣材料、輸配電設備和元器件、電子線路、電氣系統保護和電力管理產品、照明燈具、安保設備、火警設備、電工配電產品和配件、電氣和電訊支持系統及機柜、手動、電動和氣功工具、機電設備、儀器儀表;貨物或技術進出口。
變更記錄進一步顯示,李杰于2020年5月入股廣東卓原新材料科技有限公司,林炳城入股時間則是在2021年6月。

企查查關于廣東卓原新材料科技有限公司股東截圖
結合投資深圳加值的時間來看,林炳城股權投資均發生在2021年后。
那么,林炳坤2021年從廣東中科科創創業投資管理有限責任公司投資管理總監職位離開,選擇進入思銳光學擔任董秘的原因是什么?結合林炳坤在思銳光學薪酬超過董事長,林炳坤哥哥林炳城在2021年2月受讓黃銳波持有深圳加值的全部股份,林炳坤與思銳光學及大股東是否存在其他利益安排?林炳城出資來源是否真實、合規?是否替林炳坤代持?
為何招股書關于林炳坤的簡歷中均未披露在另外兩家廣州企業的任職情況,關聯方信披也未提及上述兩家企業?思銳光學招股書信披真實性、完整性如何?
就上述疑問,《大眾證券報》記者此前通過電郵致函思銳光學,截至發稿前未收到公司回復。
而對于董秘入職當年,其兄長股權投資與思銳光學重要股東存在交集,并在其入職后迅速參與定增,是否存在其他利益安排?董秘入職與一系列投資行為有無關系?均值得關注。 記者 何玉曉
- 免責聲明:本文內容與數據僅供參考,不構成投資建議。據此操作,風險自擔。
- 版權聲明:凡文章來源為“大眾證券報”的稿件,均為大眾證券報獨家版權所有,未經許可不得轉載或鏡像;授權轉載必須注明來源為“大眾證券報”。
- 廣告/合作熱線:025-86256149
- 舉報/服務熱線:025-86256144
